由于水泥回轉窯(特別大型干法回轉窯)窯口段的耐火內襯不僅要承受水泥熟料的強烈沖刷和磨損,且隨回轉窯每轉一周就要經受一次(加熱——冷卻)溫度變化。所以要求窯口段耐火內襯具有良好的耐磨性及熱震穩定性。目前,采用的電熔白剛玉基耐火燒注料,價格昂貴,且中溫強度偏低,直接影響使用效果。本試驗采用耐磨性較好、價格低廉的特級高鋁礬土熟料為基本原料,制成低成本耐火澆注料,并改善澆注料的中溫強度性能。另外,為了增加耐磨性和熱震穩定性,在基料中還加入不同比例的Sic粉制成高鋁質耐磨澆注料。
1.1 試驗原料及其性能
試驗用原料主要為山西陽泉特級高鋁礬土熟料和連云港SiC粉,并添加6%的開封純鋁酸鈣水泥結合劑,3%a-Al203微粉,1.5%的硅微粉和3%的軟質粘土。其中主要原料的理化指標見表1。
表1 主要原料的理化指標

1.2 試樣制備
試樣級配控制見表2。試驗中,外加少量的減水劑和金屬鋁粉,加7%的水攪拌混合后在160mm×40mm×40mm的模具中振動成型,養護24h后脫模,置于110℃×24h烘干。然后一部分試品分別于110℃×2h和1500℃×2h熱處理。熱震試驗采用的試樣是將澆注料振動成型成230mm×114mm×65mm的直形磚,烘干后經過1500℃×2h熱處理。
表2 試樣級配控制

1.3 性能測試方法
(1)顯氣孔率、耐壓強度、抗折強度的測試。分別按照國標GB/T 2997-1982、GB/T 5072-1985、GB/T 3001-1982進行。
(2)耐磨性測試。使用噴沙法,其原理是利用高壓氣流攜帶1mm~1.5mm的SiC顆粒沖擊試樣表面,測量試樣沖擊前后的質量M前,M后,然后計算磨損率θ=100x(M前-M后)/M前和耐磨性=l/θ。磨損率θ大,說明試樣耐磨性差。
(3)熱震穩定性的測試。根據YB/T376.1-1995采用直形磚水急冷法,測定試樣受熱端面至破損一半的循環次數,由此判別其抗震性。
2 結果與討論
2.1 鋁酸鈣水泥對澆注料耐磨性的影響
高鋁質耐磨澆注料中所用結合劑——鋁酸鈣水泥質量的優劣直接影響其耐磨性。同一牌號的新舊水泥(新水泥指出廠不超過3個月,舊水泥指出廠超過1年以上)的初凝時間分別為65min和46rnin。用同一牌號的新舊水泥作為結合劑配制的澆注料,干燥后強度、耐磨性等指標相差較大,其中,用新水泥作結合劑的澆注料流動性好、強度高、耐磨性也好。而用舊水泥作結合劑的澆注料,耐壓強度、抗折強度、耐磨性分別比前者下降52.6%、38.9%、45.7%,而且流動性差,凝結快。
2.2 減水劑對澆注料耐磨性的影響
在保證澆注料和易性的條件下,應盡量減少用水量,以防止加水量過大而導致其結構疏松、強度下降、耐磨性變差。同時,加水量過多時,鋁酸鈣水泥水化反應雖能生成CAH10,但會發生以下晶型轉變過程:
CAH10→C2AH8 →C3AH6
A·aq—AH3
CAH10和C2AH8是介穩相,屬六方晶系,其晶體呈片狀或針狀,互相交錯重疊結合,可形成較強的結晶合生體。但轉變為穩定的C3AH6和AH3,將使水泥石內游離水分及空隙體積大為增加,使晶體的結合變弱,因而導致水泥石結構疏松、強度降低、耐磨性變差。但水分過少會使水泥漿的流動性降低,也不易獲得結構密實的水泥石。
因此為了降低用水量,提高澆注料的強度,在澆注料中加入占水泥用量1.0%~1.5%的減水劑,這樣在獲得同樣和易性條件下,可減水14.5%〜17.5%,從而使其耐磨性提高35%左右。
2.3 SiC對澆注料耐磨性和熱震性能的影響
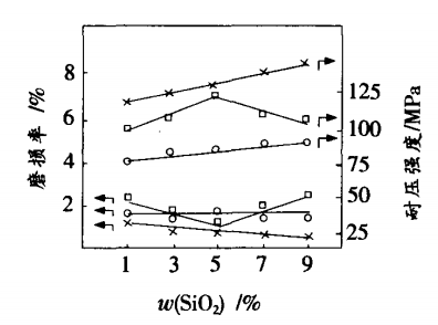
SiC屬于共價鍵化合物,強度大,耐磨性好,導熱率高。在高鋁質澆注料中引入SiC,得到的結果見圖1。

圖1 SiC對澆注料耐磨性能的影響
由圖1可見,隨著SiC加入量增加,經110℃x24h和1500℃x2h處理后的澆注料,其強度和耐磨性都有提高。其中前者是因加入的細度為0.044um的SiC粉能填補基質部分氣孔,從而使結構更致密、強度提高,且SiC本身耐磨性較高,從而使澆注料的耐磨性提高;而后者主要是試樣經過1500℃x2h熱處理后,澆注料內部得以燒結,所以耐磨性得以提高。但對經1100℃x2h燒后的試樣,SiC加入量為5%時其耐壓強度和耐磨性存在一拐點,即摻量在5%之前強度和耐磨性隨SiC摻量的增加而提高,但當摻量大于5%后則均隨SiC摻量的增加而下降。這是因為SiC在高溫氧化氣氛中會發生氧化作用,即SiC+C02 — Si02 + C02而產物Si02能與α-Al203反應生成莫來石,產生體積膨脹,導致結構蔬松、顯氣孔率上升、強度下降,耐磨性也下降。
SiC在800℃〜1100℃之間的抗氧化能力比1300℃-1500℃時的低。因為在800℃~1100℃時,SiC氧化生成的Si02結構蔬松,起不到充分保護底材的作用,而在1100℃以上,尤其在1300℃~1500℃之間,其氧化作用顯著,此時生成的Si02氧化層薄膜覆蓋在SiC表面,阻礙了氧對SiC的進一步接觸,所以抗氧化能力反而加強。當SiC加入量低于5%時,試樣經過1100℃熱處理后,其內層的1100℃本身的難燒結性未充分顯現,尚不能影響澆注料的整體燒結,所以澆注料的耐壓強度呈上升趨勢;而當1100℃加入量超過5%時,SiC本身的難燒結性達到一定程度,導致澆注料整體燒結性變差。
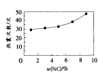
澆注料的熱震次數隨SiC加入量的增加而提高(見圖2)。根據熱震因子R=P·γ/E·α(式中:P為材料強度,γ為材料的熱導率,E為材料的彈性模量,α為材料的熱膨脹系數)分析,SiC熱導率γ高,而線膨脹系數α小。因此,當SiC加入到澆注料中,能夠提高澆注料的抗熱震性。特別當SiC加入量超過5%,由于SiC細度較細,在基質中形成連續相,能顯著提高澆注料的熱傳導能力,使熱震次數顯著增多,從而使澆注料具有更好的熱震穩定性。

圖2 SiC加入量對熱震性能的影響
2.4性能比較
將試驗料和某廠使用的高鋁質耐磨澆注料進行性能測試,其結果見表3。
表3 試驗料和某廠性能指標

表中3的使用料為某廠日產4000t熟料干法回轉窯窯窯口段使用的澆注料,經分析其主骨料是白剛玉,但料中CaO量較高,屬普通水泥澆注料。與試驗料相比,顯然其線變化率較大,并且中溫和高溫耐壓強度都較低,磨損率高,耐磨性差。
3結論
(1) 高鋁質澆注料耐磨性與結合劑鋁酸鈣水泥的性能相關,新出廠的水泥拌制的澆注料耐磨性較好。
(2) 通過加入1.5%的減水劑可減少拌合水量,增加制品的密度,將耐磨性提高35%。
(3) 加入SiC細粉使高鋁質澆注料經110℃×24和1500℃×2h處理后的耐磨性提高,但在1100℃×2h處理后其耐磨性隨SiC加入量的增加是先增加后下降。
(4) 高鋁質耐磨澆注料熱震穩定性隨SiC加入量的增加而增加,當加入量超過5%時熱震次數增加明顯。